在前面的文章中介紹過關于鋼絲繩電動葫蘆工作原理的第一點起升機構,然后本文繼續介紹剩余的幾點。
2、運行機構
CD1、MD1型電動葫蘆運行機構采用ZDY1。型錐形轉子電動機驅動,經過兩級齒輪減速,驅使主動車輪運行。參見圖9。
圖9、CD1、MD10.5~20噸電動葫蘆運行機構 機構原理示意圖
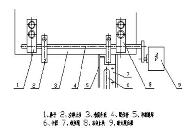
3、導繩與限位
導繩器在有繩槽的卷筒上,隨卷筒轉動而作軸向移動,以保證鋼絲繩在卷筒上排列整齊。當吊鉤上升到級限位置時(吊鉤外殼與卷筒外殼之間的離距應≥500mm),導繩器裝置的卡板磁撞右停止塊,推動限位桿往右移動,從而切斷電機電流。當吊鉤下降到極限位置時。導繩器裝置的卡板碰撞左停止塊,推動限位桿往左移動,從而切斷電機電流,這樣確保的電動葫蘆安全行。導繩器裝置和限位裝置示意圖見圖10。
圖10、導繩器裝置和限位裝置工作原理示意圖

4、電氣控制
電氣控制包括控制箱、斷火限位器、超載限制器、過流繼電器、控制箱連接架、軟纜引入器,以及電線,電纜等。
控制箱帶有控制按紐盒和控制電纜,用來操縱電動葫蘆前后左右運行和升降工作??刂瓢醇~盒有六孔和八孔兩種,控制電壓有380伏和36伏兩種,用戶根據需要訂貨。使用鐵殼結構的按紐開關必須裝有地線,連接于控制箱外殼上,以保證使用安全。

各種型號的電動葫蘆用的控制型號見表2。電氣原理見單頁圖紙。