編輯:北京凌鷹起重 瀏覽:5714 時間:2017-07-12
防爆電動葫蘆是工礦企業不可缺少的起重機械設備,特別是在易燃易爆的環境中起著重要作用。為了防止因 電氣火花引起的事故,防爆葫蘆吊做得厚實笨重,給電器維修增加了不少困難。特別是鉤子的剎車裝置,因采用三相E型電磁鐵(3個線圈) ,需要確保三相電壓平衡,每相電磁吸力相同,活動軌道平滑,否則常常造成線圈的燒毀。由于該裝置工作頻繁,故障率較高,維修困難。特別是在易燃易爆的環境中,必須加裝防爆裝置試車,無疑給維修工作增加了難度。
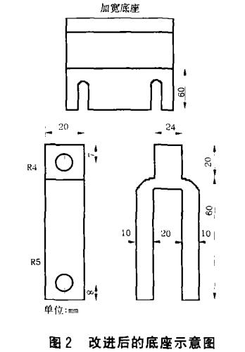
在維修工作中,常發現三相E型剎車電磁鐵變形,原因是電磁鐵動鐵芯經常受到沖擊, 使動鐵芯與靜鐵芯接觸面被撞大,造成動鐵芯的活動導軌面受到磨損。一旦卡角動鐵芯與靜鐵芯吻合面不能很好地接觸,電磁鐵內部將形成較大磁阻,引起線圈產生足以使線圈發熱燒毀的電流,致使電磁鐵線圈燒毀。當3個線圈中任意1個燒毀,電磁鐵吸引力平衡被破壞,另外2個也就很快跟著燒毀,只好將3個線圈同時換掉。這種電磁鐵在 設計時因考慮到簡潔,動鐵芯與制動拉桿之間只有一根連桿,極易造成動鐵芯的不平衡使鐵芯被卡住,致使制動電磁鐵線圈發熱燒毀。在易燃易爆場所更換線圈時,必須裝上防爆裝置才能試車,這時無法觀察到鐵芯的動作情況,常常造成返工。為了克服電磁鐵線圈經常燒毀的問題,經過仔細觀察發現,如果將制動剎車調節到佳狀態時,制動拉桿的力約在68.6—78.4N之間,完全可以用MQI-513型、吸引力為78.4N、行程為25em的牽引電磁鐵來代替原有的三相式E型電磁鐵。按圖1先將原來固定三相電磁鐵的底座加寬6ocm,然后按電磁鐵底板的尺寸鉆孔,把電磁鐵倒裝上去。為防止電磁鐵的活動鐵芯超行程滑脫出來在牽引電磁鐵活動鐵芯與制動器連桿之間,按圖2的尺寸重做一個。固定好電磁鐵后就可以把連桿與動鐵芯用鋼梢固牢。
改造后經過長期使用,再未發生過線圈燒毀的事故,既保證了設備的正常運行,又保證了使用場所的安全,并且大大減少維修量,同時降低了成本。產品的發展進步是一步一步從提升配件的性能開始的,所以配件性能的提升是至關重要的。(北京凌鷹)

上一條: 如何提高風電葫蘆運行的穩定性?
下一條: 一種新型的環鏈電動葫蘆平衡結構介紹

